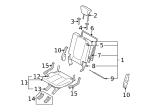
Seat Track - Kia (89135-1D000)

  • MSRP: $77.04
  • Discount: $12.33 (16% off)
  • Sale Price: $64.71
OR

Packages shipped within the U.S. and Puerto Rico will automatically be protected from any loss, damage, and theft. Learn More

Manufacturer Warranty Minimum of 12 Months
Guaranteed Fitment Always the correct parts
Shop with Confidence Your information is safe
In-House Experts We know our products

Details

  • Brand:

     Parts

  • SKU:

    89135-1D000

  • Positions: LEFT,Rear Left
  • Other Names:

    Base Assembly 3RD Cushion I

  • Description:

    Passenger side.

  • Notes: PARTS: Part included with seat cushion. Order by application.

Kia Automotive Parts

Kia Automotive Parts is your go-to source for affordable, and high quality OEM parts. With our vast selection of parts, and our helpful team of experts, we can meet all your automotive needs.